Bezig met laden...

Gabriels L-vormige plantenbak met traptreden op zijn dakterras

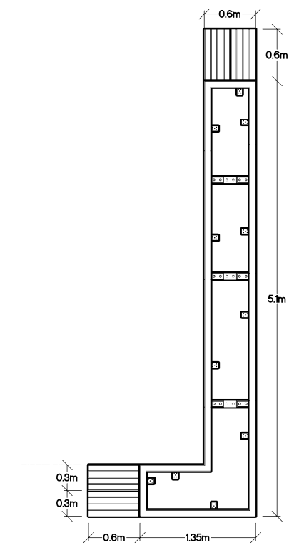
Gabriel wilde zijn dakterras verbeteren en een tweede structuur maken rond een verhoogde betonnen plantenbak die er al stond. Het was belangrijk dat er in het ontwerp traptreden werden opgenomen zodat Gabriel nog steeds bij de oorspronkelijke plantenbak kon komen om planten te verzorgen.

Dankzij de flexibliteit van WoodBlocX zijn op maat gemaakte oplossingen mogelijk voor alle typen buitenruimtes, van grote balkons tot dakterrassen met harde vloeren. Kijk eens naar onze blogpost, boordevol met ideeën!

Gabriels dakterras had een duurzame tegelvloer met een bestaande rechthoekige verhoogde plantenbak die in de achterhoek van de ruimte was ingebouwd. Deze plantenbak was erg hoog en niet bijzonder aantrekkelijk vanwege het crèmekleurige pleister. Om het dakterras een vriendelijkere, meer natuurlijke uitstraling te geven, was het idee om een tweede plantenbak om de bestaande te bouwen en zo een ruimte voor beplanting op twee niveaus te creëren.

Onze L-vormige plantenbak met op maat gemaakte treden aan weerszijden was de perfecte oplossing om nog steeds toegang te hebben tot de oorspronkelijke verhoogde bak.

De tuin plannen

Gabriel wilde een structuur op maat laten maken en koos ervoor om onze gratis ontwerpservice te gebruiken. In nauwe samenwerking met ons team werd met behulp van onze computermodelleringssoftware een L-vormige structuur ontworpen. Het ontwerp van een verhoogde bak bevatte traptreden aan de uiteinden zodat Gabriel nog steeds bij de oorspronkelijke hogere plantenbak kan komen.

De massieve tegelvloer was een perfect vlakke basis waarop de plantenbak rechtstreeks kon worden gebouwd, zonder dat de ondergrond moest worden voorbereid.

Voorbereiding en bouwen

Omdat de vloer van het dakterras uit massieve tegels bestond, was er weinig voorbereiding van de werkruimte nodig. Na het schoonspoelen van de tegels begon Gabriel met het bouwen van zijn nieuwe WoodBlocX-plantenbak.

Gabriel volgde de stapsgewijze instructies met kleurcoderingen van zijn kit en had geen problemen om de houten BlocX met behulp van onze plastic pluggen in elkaar te zetten en voor je het wist… was de verhoogde bak in een middag gebouwd!

Vanwege de grootte van het L-vormige ontwerp werden interne steunbalken toegevoegd om de stabiliteit van de plantenbak te verbeteren. Bij het bouwen met WoodBlocX op een harde ondergrond zoals tegels, bestrating of beton leveren wij hoekbeugels om de structuur veilig aan de grond te verankeren.

Hoe de tuin nu is

Het voltooide, op maat gemaakte L-vormige ontwerp omkadert de bestaande verhoogde bak perfect en voegt een nieuwe dimensie toe aan het dakterras. De plantenbak is afgewerkt in onze moderne afdekkingsstijl. De nieuwe verhoogde bak creëert niet alleen het effect van twee niveaus, het geeft Gabriel ook extra beplantingsruimte om bloemen, groenten of kruiden te kweken. De mogelijkheden zijn eindeloos!

Ons modulaire houtsysteem past perfect rond de bestaande plantenbak zonder al te veel waardevolle buitenruimte in beslag te nemen. De plantenbak heeft unieke traptreden zodat Gabriel de planten in de oorspronkelijke plantenbak nog steeds kan verzorgen en water kan geven. We zijn overtuigd dat dit L-vormige ontwerp het dakterras zal verlevendigen en een middelpunt zal vormen om nog vele jaren van te genieten!

Plantenbakken op maat voor je dakterras maken


Dit WoodBlocX-project draait om een L-vormige verhoogde plantenbak die precies in de hoek van een betegeld dakterras past en tegen een plantenbak met crèmekleurig pleister is gebouwd. De structuur is netjes opgebouwd met ons modulaire systeem en heeft een strakke, uniforme afwerking.


Transformeer je tuin met L-vormige verhoogde bakken

Onze modulaire L-vormige verhoogde bakken zijn ideaal om een natuurlijk accent toe te voegen aan patio’s, tuinpaden, balkons of een schutting. Als je iets meer op maat zoekt, staat onze gratis ontwerpservice klaar om je te helpen vinden wat je nodig hebt voor jouw vereisten en budget.